서 론
댐의 건설로 인한 댐 하류에서의 수리학적인 영향은 유황 및 유사이동의 변화로 구분될 수 있다. 댐의 홍수량 조절로 인한 최대 유량감소 및 발전 유량의 방출에 따른 유황의 변화는 자연적인 하천의 흐름의 특성과 매우 다르다. 그리고 댐으로 인해 많은 양의 유사량이 차단 되어 오직 미량의 유사량이 방출되게 된다 (Brandt, 2000). 또한 댐으로 인한 유사량 유입의 단절로 인하여 댐 하류의 침식 및 장갑화가 진행되게 된다 (Kondolf, 1997). 이런 변화는 하천의 평형을 깨트리고 수생태계에 큰 영향을 미치게 되므로 댐의 계획단계 및 가동 전에 영향을 평가하고 대비책을 수립하는 것은 매우 중요하다.
국외의 경우 댐의 건설로 인해 수생태계에 미치는 영향을 파악하기 위한 연구가 많이 수행되어 왔다. Bowen et al. (1988)은 PHABSIM을 이용하여 상류 댐에서의 발전방류가 어류 서식처 적합도에 유리한 기간을 심하게 단축시킨다는 것을 확인하였다. Valentine et al. (1996)은 PHABSIM모형을 사용하여 발전방류 조건에서의 송어에 대한 서식처의 변화에 대해 연구하였으며, 발전방류로 인한 유량의 변동이 어류의 물리서식처에 안 좋은 영향을 끼친다는 것을 확인하였다. Yi et al. (2010)은 1D 부정류 모형과 HSI 모형을 이용하여 양쯔강에서의 잉어 (Cyprinus carpio) 에 대한 어류 물리서식처 분석을 수행하고, 어류의 서식처의 영향을 최소화하는 최소 하천유지유량을 제시하였다.
국내의 경우 Jang and Shin (2009)은 용담댐 하류의 지형 및 어류상을 조사하고 PHABSIM모형을 이용하여 생태학적 추천유량을 제시하였다. Kang et al. (2010)은 2차원 수치모형을 이용하여 댐의 발전방류로 인한 어류 물리서식처 변화를 분석하였다. 그 결과 발전 방류로 인해 서식처가 악화되는 것을 확인하였다.
본 연구는 내성천에 완공 예정된 영주댐 하류지역에서의 장기 하상변동 모의를 통해 어류 물리서식처 변화를 모의하는 것이다. 영주댐은 내성천 상류에 위치하고 있으며 콘크리트 여수로가 있는 석괴댐이다. 모의를 위해 준정류 모형을 사용하여 하상변동을 실시하였으며, 유사량 산정공식은 Wu et al. (2000)의 공식을 사용하였다. 물리서식처 분석은 피라미에 대한 서식처 적합도 지수 곡선 (HSI: Habitat Suitability Index)을 사용하였으며, 가중가용 면적 (WUA: Wei-ghted Usable Area) 및 수리학적 서식처 적합도 (HHS: Hydraulic Habitat Suitability)를 계산하였다.
연구대상지역
연구대상지역은 낙동강의 지류인 내성천으로 Fig. 1과 같다. 연구대상지역은 총 58 km로 미림교에서 달지 수위 관측소까지이다. 내성천의 총 유역면적과 유로연장은 각각 1,806.7 km2, 109 km 이며 평균 하상경사는 0.011이다. 하상재료는 모래와 자갈로 구성되어있으며, 중앙입경은 D50 = 1 mm 으로 주로 모래로 이루어진 충적하천이다. 내성천은 충적하천으로 유사이동으로 인하여 하상변동이 심하게 발생하는 것으로 알려져 있다 (KICT, 2013). 갈수량, 저수량, 평수량, 풍수량은 각각 0.65, 1.6, 4.1, 12.68 m3/s과 같다.
영주댐은 2009년 12월부터 건설되기 시작하여 2014년에 완공이 되어 담수가 시작된다. 영주댐은 내성천의 상류에 위치하고 있으며 높이 55.5 m, 길이 400 m로 콘크리트 여수로가 있는 석괴댐이다. 영주댐의 총 저수용량은 1.8×108 m3 이며, 연간 용수 공급량은 2.3×108 m3, 홍수조절량은 7.5×107 m3이다 (KICT, 2013).
Kang et al. (2011)은 현장조사 모니터링을 통해 내성천 일대에서 서식하는 담수어류를 조사하였으며, 상대풍부도는 피라미 (Zacco platypus), 참갈겨니 (Zacco koreanus), 모래무지 (Pseudogobio escocinus), 긴몰개 (Squalidus gracilis majimae) 순으로 각각 43 %, 16 %, 7 %, 7 % 로 나타났다. 따라서 내성천의 우점종은 피라미로 본 연구는 피라미를 대상으로 물리서식처 분석을 실시하였다.
연 구
수리 모형
본 연구에선 흐름 및 하상변동을 모의하기 위해 준정류 모형 및 하상토보존방정식 (혹은 Exner 방정식)을 해석하였다. 1D모형은 모의 구간이 길고 장기간 모의에 적합한 모형이다. 하상변동은 하도변형에 대한 특성시간이 흐름의 특성시간에 비해 매우 길기 때문에 준정류 모형의 기본 가정은 타당하다. 준정류 모형에서의 연속방정식, 운동량방정식 그리고 하상토보존방정식은 다음과 같다.
(1)
(2)
(3)
여기서
와
는 각각 흐름방향 거리 및 시간을 나타내며,
는 단위폭당 유량,
와
는 수심평균유속 및 수심이다.
와
는 각각 중력가속도와 하상고,
는 단면에서 윤변에 의해 평균된 하상전단응력,
는 단위폭당 유사량 발생률[L2/T]이다.
유사량 산정 모형
본 연구에선 Wu et al. (2000)의 유사량 공식을 사용하였다. Wu et al. (2000)의 공식은 분포형 유사입자 및 차폐효과를 고려할 수 있는 공식이며 다음과 같다.
(4)
여기서
,
는 각각
번째 유사입자를 의미하며,
과 유사입자에 대한 Manning의 조도계수 (
),
은 하상에 대한 Manning의 조도계수를 의미 한다. 본 연구에서의 조도계수 값은
=0.014 값을 적용하였다 (KICT, 2013).
은 수중단위중량,
는 유사입자
에 대한 한계 전단응력이다.
물리서식처 모형
물리서식처 모의 시스템 (PHABSIM: Physical Habitat Simulation System)은 하천의 수생태계를 평가하기 위해 1980년대 초 미국 어류 및 야생동식물 보호국 (US Fish and Wildlife Service)에서 제시한 방법이다. 이 방법은 크게 흐름모의와 서식처모의로 구성이 되며, 서식처모의는 대상어종에 대한 서식처 적합도 지수를 산정하여 구한다. 서식처 적합도 지수는 각 물리적 변수에 대해 0과 1사이의 값을 가지며 1은 가장 좋은 적합도를 의미한다. 가중가용면적, 그리고 수리학적 서식처 적합도 (HHS: Hydraulic Habitat suitability)는 다음과 같다. 이 두 지표는 하천에서 대상 어종에 적합한 서식처의 분포에 대한 정보를 제공한다.
(5)
(6)
여기서
와
는 격자의 순서 및 총 격자의 수를 의미하며,
는
번째 격자의 면적,
는
번째 격자에서의 복합서식처적합도 지수 (Composite Suitability Index)를 의미하며, 개별 서식처 적합도 지수를 이용하여 구할 수 있다. 본 모의 에선 개별 서식처 적합도지수 값을 서로 곱하는 곱셈법을 사용하였다.
는 총 유수면적을 의미한다.
|
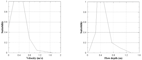
Fig. 2. Habitat Suitability Indice for Zacco Platypus (Kang et al., 2011) |
` |
(a) Discharge before dam construction |
|
(b) Discharge after dam construction |
Fig. 3. Discharge scenario |
Fig. 2는 본 연구에서 사용한 피라미의 서식처 적합도 지수이다. 강형식 등 (2011)은 현장모니터링 자료를 통하여 피라미에 대한 서식처 적합도 곡선을 제시하였다. 피라미는 주로 낮은 수심과 느린 유속을 선호한다.
유량 시나리오
Fig. 3은 댐의 건설로 인한 유황의 변화가 하천의 형태학적 변화에 미치는 영향을 조사하기 위해 만든 유황 시나리오이다. Fig. 3(a)는 댐의 건설 전의 유량 시나리오이며 이는 2011년 향석 지점에서 실측된 유량이다 (KICT, 2013). 2011년 실측된 유량에 따르면 2번의 큰 홍수가 발생하였으며 이때의 최대 유량은 각각 약 900 m3/s 과 1600 m3/s 이다. Fig. 3(b)는 댐 건설 후 유황 시나리오이며 같은 수계에 있으며 영주댐과 비교적 비슷한 제원을 가지는 안동댐의 연간 방류량을 토대로 만든 것이다. 댐 건설 후 홍수량 조절로 인하여 큰 유량은 발생하지 않지만 발전 방류량으로 인하여 풍수량 이상의 유량이 빈번하게 발생하는 것을 확인할 수 있다.
모의
|
Fig. 4. Changes of HHS with time |
|
Fig. 5. Comparison of HHS distribution between normal flow and hydropeaking condition |
본 연구는 상류의 댐 건설로 인한 유황의 변동으로 인하여 하류의 어류 물리서식처에 미치는 영향을 수치모의를 통해 알아 보는 것이다. 댐 건설 전 및 후의 유량시나리오에 따른 물리서식처의 변화를 분석하고, 하상변동모의를 통하여 댐 하류 서식처에 미치는 장기적인 영향을 파악하는 것이다.
Fig. 4는 댐이 있을 경우와 없을 경우에 대한 연간 HHS값의 변화를 비교한 것이다. 댐이 없는 경우 평수량이 유지되는 기간에는 0.7정도의 큰 HHS값이 유지가 되나 홍수가 발생하는 기간에는 HHS값이 심각하게 낮아지는 것을 확인할 수 있다. 댐이 있는 경우 댐이 없는 경우와 달리 홍수기 시에서 서식서가 악화되는 경향은 감소하였으나 잦은 발전방류로 인하여 좋은 서식처가 유지되는 유지되는 기간이 짧아짐을 확인할 수 있다.
Fig. 5는 평수량일 때와 발전방류량일 때의 HHS분포를 비교한 것이다. 평수량의 조건에서는 모의구간내의 HHS분포가 1에 가까운 값으로 분포하고 있다는 것을 확인할 수 있다. 반면에 발전방류량의 조건에서는 HHS가 상당히 낮은 값에 분포하고 있으며 이는 발전방류량으로 인하여 깊은 수심과 빠른 유속이 형성되어 피라미가 서식하기에 좋지 않게 변화되었기 때문이다.
Fig. 6은 준정류 모형을 이용한 하상변동 모의 결과를 나타낸 것이다. 모의 구간에서의 상류의 유입 유사량은 댐으로 인하여 방출이 되지 않는다고 간주하였다. 모의 결과 상류로부터 침식이 진행이 되었으며 10년 후 상류로부터 약 5 km 구간까지 침식이 활발하게 진행된 것을 확인하였다. 초기 조건과 비교하여 1년 후 약 1.1 m 의 침식이 발생, 5년과 10년 후에 각각 약 4.1 m, 5 m 의 침식이 발생하였다.
Fig. 7은 초기 하상고 조건과 10년 후 하상고 조건에서의 평수량일 때 HHS분포를 비교한 것이다. 하상변동은 상류에서 특히 활발하였으며 모의구간에서 상류로부터 15 km 구간까지 도시하였다. HHS 분포는 10년 후 많이 초기 조건에 비해 악화된 것을 확인할 수 있다. 이 이유는 상류의 침식으로 인하여 수심이 깊어지고 유속이 낮아지게 되어 피라미가 살기에 적합하지 않은 환경으로 변화되었기 때문이다.
결론
본 연구는 수치모의를 이용하여 댐에 의한 유황의 변화가 어류의 물리서식처 변화에 미치는 영향을 분석하였다. 이를 위해 준정류 모형을 이용한 장기 하상변동을 수행하고. 피라미를 대상 어종으로 선정하여 물리서식처 분석을 실시하였다. 또한 자연상태의 유황과 댐 건설 후 유황에 대한 시나리오를 수립하여 물리서식처 분석을 실시하였다. 그 결과 댐 건설 전의 유황에서는 홍수기 시 물리서식처가 크게 악화되었으며, 댐 건설 후의 경우 홍수기 시에 대한 영향은 감소하였으나 발전방류로 인하여 어류의 서식처 조건이 양호하게 유지되는 기간이 짧아지는 것을 확인하였다.
장기 하상변동 모의결과 댐에 의한 유입 유사량의 차단이 상류의 침식을 야기하는 것을 확인하였다. 또한 상류에서 진행된 침식은 시간이 지날수록 하류로 진행되어 더욱 넓은 구간에 영향을 미칠 것으로 예측된다. 초기 하상고와 10년 후의 하상고의 경우에서 평수량일 때의 수리학적 서식처 적합도를 계산하여 비교하였다. 그 결과 10년 후의 수리학적 서식처 적합도는 초기조건보다 많이 악화되었다. 그 이유는 상류로부터 진행된 침식으로 인해 상류에서의 수심이 깊어지고 유속이 느려지게 되어 피라미가 살기 적합하지 않은 환경으로 변화되었기 때문이다. 향후 연구에선 지속적인 모니터링을 통하여 좀 더 정확한 예측을 수행할 필요가 있으며, 댐 하류에 미치는 영향을 저감하기 위한 연구가 필요할 것으로 보인다.










