1. 서 론
2. 재료 및 방법
2.1 실험 재료
2.2 식생 매트 충진재의 수질정화능 측정
2.3 정화기능 식생 매트의 소재별 수질정화능 측정
3. 결과 및 논의
3.1 충진재의 수질정화능 비교
3.2 수질정화 식생 매트의 수질정화능 비교
4. 결 론
1. 서 론
산업화가 급속하게 진행되면서 우리나라의 하천에서 하천의 물리적 교란과 수질 오염이 심각해졌다. 이에 따라서 1990년대 이후에 하천의 환경적 기능에 대한 인식이 확산되면서 전국 하천에서 자연형 하천 조성기법이 활발하게 적용되고 있다. 이러한 자연형하천 조성기법 중에서 하천의 경관성과 생태성을 증진할 목적으로 기존의 콘크리트 호안을 제거하고, 식물 식재, 식생 매트 포설, 분사식 씨 뿌리기 (hydro- seeding) 등의 다양한 공법으로 제방 사면을 녹화하고 있다 (Ministry of Environment 2006).
한편 하천으로 유입되는 비점오염원의 비율은 2006년에 하천에서 총오염부하량의 22-40%를 차지하고 있다. 이에 따라서 유역 개발, 건축 및 농지 정비 등의 유역 토지 관리와 관련 법령, 지침 및 규정의 개정으로 비점오염원 관리에 다양한 노력을 강구하고 있다 (Interagency Consolidation 2012).
|
Fig. 1. Vegetation mat for water purification in this study (systematic diagram (a) and pictorial view (b)) (size in mm). |
현재 대부분 비점오염 관리기술이 발생 대상 지역 중심으로 초기 우수 처리에 중점을 두고 있어서 최종적으로 하천 유입수 처리에 대한 기술적 대안이 미흡하고 이러한 기술수준이 낮은 실정이다 (Han 2003). Woo et al. (2015)은 오염수 처리에 대한 갈대 생장을 분석하여 하천 호안의 식생 사면부가 비점오염 감소에 중요한 기능을 갖는다고 하였다. 따라서 기존 하천의 녹화에 의한 생태환경 조성 공법에 수질정화기능을 병합하는 것이 매우 실용적인 방법이라고 할 수 있다. 이러한 관점에서 Lee and Park (2015)은 하천으로 유입되는 비점오염원을 감소하고자 고수호안에 설치된 식생 매트를 이용하여 수질정화기능을 실험하였다. 그러나 여기에 사용한 식생 매트는 식생 정착 중심의 녹화용이었다. 그러므로 식생 매트에 의한 수질정화기능을 제고하기 위하여 비점오염물질 중 흡착성 유기물을 저감할 수 있는 다공성 여재를 활용한 정화기능 식생 매트의 필요성이 대두되었다.
본 연구에서는 현재 수질정화에 자주 사용되고 있는 제올라이트 (zeolite)와 규조토 (diatomaceous earth), 그리고 이들을 혼합하여 소성한 발포여재 (foam media)를 대상으로 실험실 수준 (bench scale)에서 수질정화성능을 비교하고, 발포여재를 이용한 식생 매트를 제작하여 현장적용 후 강우시 하천 유입수에 대한 수질정화 기능을 평가하였다.
2. 재료 및 방법
2.1 실험 재료
본 연구에서는 식생 매트의 수질정화기능 검증을 위하여 2가지 실험을 수행하였다. 첫 번째, 식생 매트에 적합한 충진재를 선정하기 위하여 여재별 수질정화능을 비교하였다. 두 번째, 선정된 충진재를 적용한 정화기능 식생 매트를 대전시 관평천의 유수지 사면에 설치하여 강우시 하천 유입수에 대한 수질정화능을 평가하였다.
본 연구에 사용한 정화기능 식생 매트는 외형과 구조 유지를 담당하는 외피 소재인 코코넛 섬유와 식생 활착 및 수질정화 기능을 담당하는 여재부 및 식재부, 결합부로 구성되어있다 (Fig. 1). 여재로는 제올라이트와 규조토를 50:50 (w/w)으로 혼합하여 약 900°C에서 소성 제조한 발포여재를 사용하였다 (Table 1).
2.2 식생 매트 충진재의 수질정화능 측정
식생 매트의 여재부에 적용 가능한 제올라이트, 규조토 및 소성 발포여재의 수질정화능을 비교 평가하기 위하여 실험실 수준에서 실험을 실시하였다. 실험은 아크릴로 제작된 200 mm × 200 mm × 1,000 mm 수조에 각 충진재를 15 cm (약 6 L 부피)의 두께로 채운 후 정량펌프를 이용하여 유입수를 하향류 방식으로 주입하는 방식으로 이루어졌다. 본 연구에서는 식생 매트 충진재가 하천의 고수호안 사면부에 적용된다는 점을 고려하여, 유입유량을 약 9.1 L/min으로 여과선속도 (filtering linear velocity)로는 약 327 m/day로 운전하였다.
유입수는 실제 강우유출수를 이용하는 것이 바람직하지만 유입유량을 충분히 확보하기 어려워서 K 대학 1차 하수처리수와 최종 방류수를 3:1의 비율로 혼합하여 1 m3 용량의 수조에 저장한 후 공급하였다. 실험에 적용된 유입수의 오염물질 농도는 부유물질 (SS) 69-77 mg/L, 총질소 (T-N) 6.62-12.31 mg/L 및 총인 (T-P) 2.792-3.445 mg/L이었다 (Table 2). 이러한 유입농도는 Kim et al. (2012)의 유역 토지이용별 강우유출수 농도를 참조하여 결정하였다. 본 실험에서는 하수처리수를 희석하여 농도를 조절하였기 때문에 인의 농도가 다소 높았다.
실험 시작 후 30분 간격으로 총 9회에 걸쳐 유출수를 채취하여 오염물 농도를 측정하였다. 유입수는 잘 섞은 다음 채수하여 총 3회 오염물 농도를 측정하였다. 시료의 분석은 Seo (2010)의 제올라이트 실험을 참조하여 입자성 오염물질인 부유물질 (SS)과 부영양화 원인 영양물질인 총질소 (T-N)와 총인 (T-P)을 수질오염 공정시험법 (Ministry of Environment 2004)에 따라서 정량하였다.
2.3 정화기능 식생 매트의 소재별 수질정화능 측정
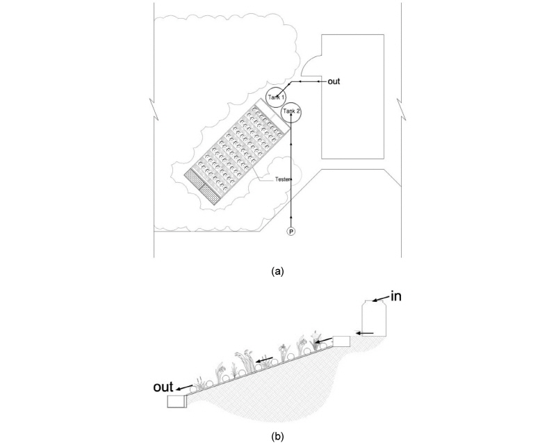
선정된 충진재를 활용하여 제작된 수질정화용 식생 매트 시작품을 대전시 관평천의 유수지 사면에 설치하였다. 이곳에서 2015년 10월부터 12월까지 총 3회에 걸쳐 강우 유입수에 대한 수질정화기능 검증 실험을 실시하였다. 실험구는 폭 1,500 mm, 길이 3,600 mm로서 경사도 1:3 (18°)의 하천 유수지 사면에 설치하였다 (Fig. 2). 실험구는 2개 구역으로 배치하였으며, 각 실험구의 제원은 폭 750 mm, 길이 3,600 mm, 높이 150 mm 이었다. 각각의 실험구는 오염원 유입 방지를 위해 높이 20 cm의 목재 칸막이를 설치하였으며, 하부에는 기존 지반으로의 침투를 막기 위하여 방수 매트를 깔고 그 위에 식생 매트를 설치하였다.
현장실험에 사용된 식생 매트는 코코넛 섬유 소재의 외피에 직경 12 cm의 원형 롤을 만들고 내부에 발포여재를 충진하는 형태로 제작하였다. 본 연구에서 이용한 식물은 하반림에서 주로 나타나는 수변식물 중 T-N의 저감능력이 우수하다고 평가된 물억새 (Miscanthus sacchariflorus)를 식재하였다 (Choe and Kim 1999). 물억새의 식재는 최적 밀도로 알려진 300 mm 간격의 포트 식재 방법으로 하였다 (Lee et al. 1999).
유입수는 관평천 유수지에서 토구로 유입되는 우수 유입수 일부를 채수하여 2,000 L 물 탱크에 저장하여 사용하였다. 각 실험에서 사용된 유량은 설치된 식생 매트의 상단을 월류할 수 있도록 물량을 조절하였다. 본 현장 실험의 측정항목은 여재 평가 실험과 동일하게 부유물질 (SS), 총질소 (T-N), 총인 (T-P)이었다. 이때 유입수의 오염물질 농도는 SS 12.9-19.4 mg/L, T-N 1.71-2.04 mg/L 및 T-P 0.085-0.138 mg/L이었다. 측정용 시료는 오염수 투입 후 실험구 하부에 처음 도착한 시간을 기준으로 75분부터 95분까지 5분 간격으로 채수하였다.
3. 결과 및 논의
|
Fig. 2. Systematic diagrams of the arrangement of the vegetation mat applied on the test bed (ground plan (a) and cross-section (b)). |
|
Fig. 3. Comparison of purification efficiencies of suspended solid (SS), total nitrogen (T-N) and total phosphorus (T-P) by the three different filling materials of vegetation mats (mean±SD). |
3.1 충진재의 수질정화능 비교
식생 매트의 충진재 실험재료인 제올라이트, 규조토 및 이들 혼합물의 소성 발포여재에 대하여 수질정화능을 비교하였다. 부유물질 (SS)의 경우 발포여재의 수질정화능이 평균 46.3%로서 가장 우수하였다 (Fig. 3). 발포여재는 일정한 크기로 성형되어 여재의 균등도가 높고 소성 과정에서 다양한 크기의 내외부 공극이 만들어져 입자성 물질을 포집하기 좋은 표면구조를 가졌기 때문으로 수징정화능이 큰 것으로 판단된다. 본 실험에서 규조토의 SS 정화효율은 6.8-42.5% (평균 26.5%)로서 다른 연구에서의 40-80% (Logdsong et al. 1981)과 29.4-100% (Yang 2002)보다 낮았다. 이러한 원인은 식생 매트가 호안에 적용된다는 점을 고려하여 여과선속도를 높게 설정한 것과 무기성 입자물질이 많이 포함되는 비점오염원과 달리 유기성 입자가 많은 하수를 유입수로 이용하였기 때문인 것으로 판단된다.
총질소 (T-N)은 발포여재와 제올라이트의 수질정화효율이 각각 29.9%, 29.8%로서 규조토보다 높았다 (Fig. 3). 일반적으로 제올라이트는 질소 제거 효과가 크고, 특히 암모니아 질소에 대한 이온교환 작용이 크다고 알려져 있다 (Kim et. al 1996, Seo 2010). 본 연구에서 사용한 유입수는 하수 원수를 희석하여 사용하였기 때문에 이온성의 질소가 대부분 암모니아성 질소인 것으로 추정된다 (Seo et al. 2008).
총인 (T-P)에서는 규조토와 발포여재의 수질정화효율이 약 20%이었고, 제올라이트는 음의 값을 보여서 오히려 충진재로부터 총인이 용출된 것으로 생각되었다 (Fig. 3). 천연 제올라이트에는 P2O5가 무게비로 0.15%가 함유되어 있는 것으로 알려져 있다 (Chang et al. 2001). 이상의 결과를 종합하면, 발포여재가 개별 소재인 제올라이트나 규조토보다 SS, T-N 및 T-P의 정화능이 우수하였다.
3.2 수질정화 식생 매트의 수질정화능 비교
발포여재로 충진한 식생 매트를 하천 제방에 설치하여 측정한 식생 매트의 SS, T-N 및 T-P 수질정화능은 1차 실험에서 각각 44.3%, 20.0% 및 6.2%, 2차 실험에서 60.0%, 34.5% 및 24.3%, 3차 실험에서 76.1%, 42.2% 및 30.1%이었다. 따라서 평균 수질정화효율은 SS가 60.1%, T-N이 32.2%, T-P가 20.2%이었다 (Fig. 4). 이러한 결과를 실내실험에서의 발포여재 수질정화능과 비교하면 식생 매트가 SS와 T-N이 각각 14% 포인트와 3% 포인트 만큼 수질정화능이 상승하였고, T-P는 13% 포인트가 감소하였다. 제1차 실험에서 실험 시설물을 설치한 후에 표면에 쌓여있던 불순물이 실험과정에서 유출되어 식생 매트의 수질정화능을 크게 떨어뜨린 것으로 생각된다. 따라서 1차 실험의 결과를 제외하고 2차와 3차 실험의 결과만으로 식생 매트의 수질정화능을 평가하면 SS가 60.0-76.1%, T-N이 34.5-42.2%, T-P가 24.3-30.1%이었다. 따라서 하천 제방 사면에 수질정화용 식생 매트를 설치하면 주변으로부터의 비점오염원 유출수 오염부하를 크게 저감할 수 있을 것으로 판단된다.
4. 결 론
식생 매트의 충진재로 사용되는 여재들의 수질정화능을 평가하기 위한 실내 실험에서 발포여재의 오염물질 저감률이 SS가 46.3%, T-N이 29.9%, T-P이 33.3%로서 제올라이트와 규조토보다 발포여재의 수질정화능이 우수하였다. 또한 발포여재로 충진된 식생 매트를 하천 현장에 설치한 실험에서 식생 매트의 수질정화능은 SS가 60.1%, T-N이 32.2%, T-P가 20.2%이었다. 따라서 수질정화용 식생 매트는 기존의 녹화용 식생 매트에 비하여 녹화와 더불어 수질오염 물질의 정화 기능을 병행할 수 있으므로 하천으로 유입되는 비점오염 부하를 저감할 수 있는 효과적인 기술인 것으로 판단된다.






