1. 서 론
2. 이론 및 방법
2.1 프레스톤 튜브 방법
2.2 측정기기
3. 실험 결과 및 분석
3.1 프레스톤튜브 검정 실험
3.2 실험 조건
3.3 실험결과
3.4 결과 분석
5. 요약 및 결론
1. 서 론
하도의 흐름 구조는 하상전단응력과 직접적인 관계를 갖는다. 흐름 저항, 측벽 보정, 유사량, 하도 침식과 퇴적, 하도 설계 등의 수리학적 문제는 하상전단응력의 분포와 직접 관련된 분야이다 (Yang and Lim 1997, Guo and Julien 2005). 하도의 윤변에 따른 하상전단응력분포는 일반적으로 비균일하게 나타나는데 이는 난류의 비등방성에 의해 발생하는 레이놀즈 응력의 횡방향 구배와 이차류 때문이다 (Gessner 1973). Tominaga et al. (1989)와 Kinght and Dmetriou (1983)의 실험에 의하면 하상전단응력은 이차류의 방향이 경계면으로 향하는 경우에는 증가하고 그 방향이 경계면과 멀어지는 경우에는 감소한다.
복단면 흐름에서는 주수로와 홍수터에서 발생하는 흐름 간의 유속 차이로 운동량 교환이 발생하며 그 결과 전단층이 형성되어 부가적인 에너지 손실과 유하능력 감소를 야기한다. 또한 주흐름과 이차류의 유속분포, 경계전단응력, 난류 특성 등도 영향을 받아 복단면의 특징적인 현상을 나타낸다 (Tominaga and Nezu 1991).
하상전단응력은 경계면 부근의 유속법칙, 즉, 벽법칙 (Law of wall)을 이용하여 추정할 수도 있으며 직간접적인 방법으로 측정할 수도 있다. 벽법칙을 적용하는 경우에는 경계면 부근의 유속을 정밀하게 측정하여야 하므로 일반적으로 LDA 또는 PIV 등의 고비용의 측정기법이 필요하다. 하상전단응력을 측정하는 방법은 경계전단응력을 직접적으로 측정하는 방법과 측정된 수리량으로부터 추정하는 간접적인 방법으로 구분할 수 있다 (Haritonidis 1989, Table 1). 이 방법들 중에서 프레스톤튜브 방법은 가장 일반적인 방법으로 단순하고 간편하다는 장점이 있다. 또한 많은 적용 사례가 있어 대부분의 간접적인 측정방법은 프레스톤튜브 방법을 이용하여 보정한다 (Thornton et al. 2008).
Preston (1954)은 경계면 유속과 경계전단응력 사이의 선형 관계를 제안하였다. 피토 튜브를 이용하여 경계면의 속도 수두를 측정할 수 있으며 이를 이용한 경계전단응력 측정방법을 제안한 것이다. 프레스톤튜브 방법에서는 경계전단응력과 경계면 부근 유속 사이의 관계에 대한 보정식이 필요하며 보정된 기기를 이용하면 경계전단응력의 측정이 가능하다.
본 연구에서는 복단면 하도의 하상전단응력 분포 특성을 분석하기 위하여 기존 연구에 비해 높은 레이놀즈수에서 프레스톤튜브를 이용하여 측정을 수행하였다. 국내에서 프레스톤튜브 방법은 기계유체 분야에서는 일부 적용한 사례가 있으나 측정이 단순하고 간편함에도 개수로 분야에서는 적용한 사례가 거의 없어 본 연구를 통해서 개수로에서의 적용성을 검토하였다. 또한 높은 레이놀즈수에서 전단응력분포 특성을 비교, 분석하여 복단면 하도의 하상전단응력 분포 특성을 제시하고자 하였다.
2. 이론 및 방법
2.1 프레스톤 튜브 방법
경계층 이론에 의하면 고체 경계면 부근의 유속분포는 Eq. 1과 같이 표현된다.
(Eq. 1)
여기서 a와 b는 보편 상수 (universal constant)이며 u는 경계면에서 거리 y에서의 유속을 나타내며 U* 와
는 각각 전단속도와 물의 동점성계수를 나타낸다. Ludwieg and Tillmann (1950)은 열전도를 이용하여 평판 흐름에 대한 전단응력 측정 실험을 수행하여 Eq. 2와 같은 멱법칙의 유속분포식이 유효함을 제시하였다.
(Eq. 2)
Preston (1954)은 피토관을 이용하여 경계면 부근의 전압과 정압의 차이를 측정하여 유속을 측정하였으며 Eq. 3을 Eq. 2에 대입하여 Eq. 4와 같은 수정 관계식을 제안하였다.
(Eq. 3)
(Eq. 4)
여기서 F는 선형함수, P는 전압, p0는 동압을 나타내며 d는 피토관 지름을 나타낸다. 선형함수는 F를 구하기 위해서는 기지의 경계전단응력을 이용한 검정이 필요한데 원형관의 경우에는 두 지점의 전압을 알면 간단하게 경계전단응력을 구할 수 있다. Preston (1954)는 원형관 실험을 통해 4가지 크기의 피토관을 검정하여 Eq. 5와 같은 검정식을 제시하였다.
(Eq. 5)
여기서 C는 검정계수를 나타내며
는 전압과 동압의 차이를 나타낸다.
Hsu (1955)는 풍동 실험에 피토관을 적용하여 경계면 유속을 측정하고 이 결과를 Preston (1954)이 제시한 유속분포식과 비교하였다. Ippen and Drinker (1960)은 단단면 개수로 흐름 측정에 프레스톤의 방법을 적용하였다. 그들은 피토튜브를 이용하여 경계면 부근의 연직유속 분포를 측정하였으며 Preston (1954)의 검정식을 이용하여 경계전단응력을 계산하고 이를 마찰경사로부터 계산되는 평균전단응력과 비교하였다. 이 연구에서 그들은 개수로 흐름에서는 경계전단응력이
보다는 에 비례한다고 제안하였으며 Eq. 6과 같은 검정식을 제안하였다.
(Eq. 6)
여기서
는 ft 단위이다.
Heinz (2002)는 Ippen and Drinker (1960)의 실험 결과에서 측정된 자료를 재검토하였다. 1차원 부정류 모형을 이용하여 측정 수위를 이용하여 조도계수를 재검정하여 마찰경사에 의해 계산되는 평균전단응력을 다시 계산하였으며 이에 따라 Eq. 7과 같은 수정된 프레스톤 튜브 검정식을 제안하였다.
(Eq. 7)
Thornton et al. (2008)은 프로스톤튜브를 매끈한 수로와 거친 수로에 적용하였다. 압력은 50 Hz로 측정하여 평균값을 이용하였으며 자갈 하상과 콘크리트 하상에 대해서 Eq. 8과 Eq. 9와 같은 검정식을 제시하였다.
(gravel bed) (Eq. 8)
(concrete bed) (Eq. 9)
여기서
는 psf 단위이며
는 inch 단위이다.
2.2 측정기기
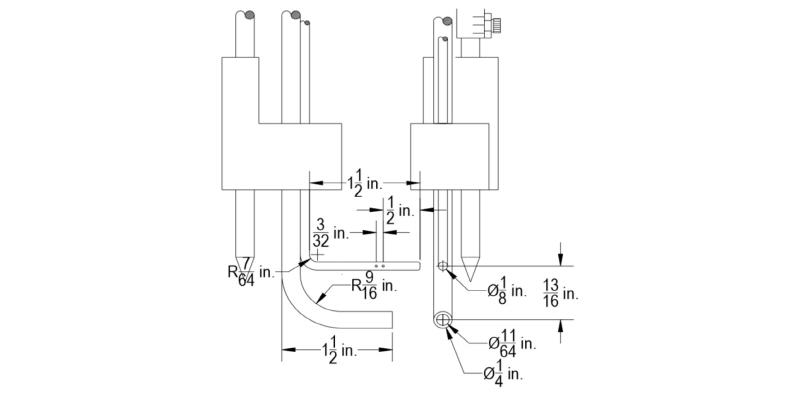
프레스톤튜브를 개수로 흐름에 적용한 사례는 많지 않은데 본 연구에서는 Thornton et al. (2008)의 연구에서 개수로에 적용된 것과 동일한 사양과 규모의 피토관을 제작하여 적용하였다. 본 연구에서 적용된 프레스톤튜브는 Fig. 1에 제시된 것과 같이 전압 포트와 정압 포트가 완전히 분리된 형태로 전압 포트는 하부에 위치하며 정압 포트는 상부에 위치한다. 프레스톤튜브의 검정식은 튜브 직경과 형상에 따라 검정계수가 달라지는데 본 연구에서는 적용된 프레스톤 튜브의 상세 사향은 Fig. 2와 같다. 하부에 위치한 전압 포트의 외경은 1/4인치이며 내경은 11/64인치로 내경대 외경비는 0.69이다. 상부에 위치하는 정압 포트는 1/8인치 튜브의 양 측면에 두 개씩 구성되며 각각의 직경은 1/32인치로 총 4개의 포트로 구성된다. 전압포트와 정압포트 사이의 거리는 13/16인치이다.
전압포트와 정압포트는 관을 통해서 차압계로 연결되며 차압계는 데이터로거에 연결되어 차압의 시계열 자료를 측정하게 된다. 본 연구에서는 사용된 차압계는 Smar 사의 LD 300이며 데이터로거는 Graphtec 사의 GL220이다. 이를 통해서 최대 100 Hz로 차압을 측정할 수 있는데 본 연구에서는 50 Hz로 180초 동안 측정된 자료의 평균값을 이용하여 차압을 산정하였다.
3. 실험 결과 및 분석
3.1 프레스톤튜브 검정 실험
제작된 프레스톤튜브의 검정식 개발을 위하여 검정실험을 수행하였다. 검정에 사용된 수로는 직선수로로 폭 0.8 m, 높이 0.5 m, 길이 8 m 규모이며 수로의 하상과 측벽은 유리이며 고수부지는 아크릴로 제작하였다. 검정실험을 위한 기기 구성은 Fig. 3과 Fig. 4와 같다.
유량은 최소 0.0116 m3/s에서 최대 0.0504 m3/s까지 조정하였으며 이 때의 평균 유속은 0.28 m/s에서 1.61 m/s사이이다. 유량은 유입 위어의 수위에 의해 측정하였으며 수로의 수심은 흐름이 충분히 발달한 것으로 가정할 수 있는 하류 4 m 지점 중앙에서 측정하였다. 차압도 동일한 지점에서 측정하였으며 한 지점의 차압은 180초 동안 측정하였다. 마찰경사는 측정 수심을 이용하여 산정하였으며 이를 이용하여 평균전단응력을 계산하였다.
총 24 케이스의 검정실험을 수행하였으며 검정실험의 결과는 Fig. 5와 같으며 선형회귀분석을 통해 제시된 검정식은 Eq. 10과 같다. 전단응력의 최소 0.52 N/m2에서 최대 17.58 N/m2이며 레이놀즈수는 51,000에서 220,000 사이이다. 검정식은 수심측정에서 계산된 전단응력과 프레스톤튜브에 측정된 차압사이의 선형회귀분석을 통해서 제시되었다.
(Eq. 10)
3.2 실험조건
복단면 경계전단응력 분포 실험을 위한 복단면의 형태는 Fig. 6과 같다. 하상과 측면은 유리로 구성되어 있으며 홍수터 모형은 유색 아크릴로 제작하여 전체적으로 매끈한 수로로 조성하였다. 실험 조건은 Table 2와 같이 총 5가지 수심비에 따른 실험을 수행하였다. 여기서 H는 주수로의 수심, h는 홍수터 수심을 나타내며 B는 총하폭, b는 주수로폭을 나타낸다. 본 실험에서 B와 b는 각각 0.8 m와 0.4 m로 일정하다. Table 2의 실험조건에서 평균전단응력은 프레스톤 튜브로 측정된 전단응력의 평균값이다. Case 1, Case2, Case3의 홍수터 수심은 0.16 m이며 Case4와 Case5의 홍수터 수심은 0.12 m이다.
3.3 실험결과
실험 조건별로 복단면 수로의 횡방향 전단응력분포를 앞서 검정된 프레스톤 튜브를 이용하여 Fig. 7과 같이 측정하였다. 프레스톤 튜브의 측정값은 차압이며 이는 Eq. 10에 의해 응력으로 환산하였으며 그 결과는 Figs. 8 - 12와 같다. 그림에서 세로축은 전단응력분포비로 비교를 위하여 단면평균전단응력에 대한 각 지점전단응력으로 표시하였다. 가로 축은 우안에서 좌안 방향으로의 거리이다.
Case1 (h/H=0.16)의 전체적인 전단응력분포는 주수로에서 높은 값을 나타내며 홍수터에서 낮은 값을 나타내는 일반적인 형태를 잘 나타내고 있다. 주수로의 평균값은 1.27이며 홍수터의 평균값은 0.71을 나타낸다. 최대값은 주수로의 중앙부에서 나타나며 그 값은 1.55이다. 주수로의 0.12 m 지점과 0.28 m 지점에서는 상대적으로 낮은 값이 나타나고 있다. 주수로와 홍수터의 접합부에서는 0.98의 값이 나타나며 횡방향 길이 증가에 따라 감소하는 경향이 뚜렷하게 나타난다.
Case2 (h/H=0.47)의 경우에는 주수로의 전단응력이 홍수터에 비해서 다소 높게 나타나나 그 차이는 크지 않다. 주수로의 평균전단응력은 1.01이며 홍수터는 0.99이다. 주수로의 중앙에서는 최대값이 나타나며 주수로 양안에서는 최소값이 나타난다. 홍수터의 접합부에서는 다소 높은 값을 나타내며 횡방향 길이 증가에 따라 전단응력이 감소하는 경향을 나타낸다. 주수로의 최대전단응력은 1.22이며 접합부에서 0.76을 나타내며 홍수터의 최대값은 접합부 부근에서 1.13이며 최소값은 우안에서 0.81을 나타낸다.
Case3 (h/H=0.78)의 경우에는 전체적으로 Case2와 비슷한 경향을 나타내는데 주수로와 홍수터의 평균전단응력은 1.0으로 동일하다. 주수로의 최대값은 수로 중앙부의 1.20이며 접합부에서는 0.78을 나타낸다. 홍수터 접합부에서는 1.01을 나타내며 최대값은 접합부 부근에서 1.12이며 우안에서는 0.88의 최소값을 나타낸다.
Case4 (h/H=0.33)의 경우에는 주수로와 홍수터 간의 전단응력 분포가 비교적 명확하게 구분된다. 주수로의 평균전단응력은 1.03이며 홍수터는 0.96이다. 주수로의 최대값은 주수로 중앙 부근에서 나타나며 그 값은 1.34이며 주수로 접합부에는 0.56이다. 홍수터의 최대값은 접합부의 1.25이며 횡방향 길이 증가에 따라 감소하여 우안에서는 0.65의 최소값을 나타낸다.
Case5 (h/H=0.50)의 경우에도 주수로와 홍수터간의 전단응력 분포가 비교적 명확하게 구분되는데 이 경우에는 최대값이 저수로가 아닌 홍수터 접합부 부근에서 나타나는 특징을 나타낸다. 주수로 전단응력 평균값은 0.98이며 홍수터는 1.02이다. 홍수터 접합부 부근에서 나타나는 최대값은 1.41이며 저수로의 최대값은 1.24이다. 홍수터의 전단응력은 횡방향 길이 증가에 따라 감소하여 우안에서 0.66을 나타낸다.
3.4 결과 분석
실험결과는 홍수터의 수심이 증가하면 홍수터의 전단응력이 증가하는 일반적인 양상을 잘 나타내고 있다. 본 실험에서는 주수로와 홍수터의 폭을 동일하게 설정하였는데 수심비가 0.33이상이면 주수로 평균전단응력과 홍수터 평균전단응력이 비슷해지는 경향을 나타낸다.
복단면 전단응력 분포 특성 분석을 위하여 본 연구의 실험결과를 Tominaga and Nezu (1991)의 실험결과와 비교하였다. 복단면의 국부적인 전단응력분포는 난류특성과 이차류 분포 특성에 영향을 받는다. 난류특성은 레이놀즈수에 영향을 받게 되므로 본 실험 결과와 Tominaga and Nezu (1991) 실험결과의 차이점은 여기에서 기인하며 또한 측정방법의 차이의 영향도 있을 것으로 판단된다. Tominaga and Nezu (1991) 연구에서는 하상전단응력은 연직유속분포를 로그분포로 가정하고 경계부근의 유속을 LDA로 측정하여 추정하였다. 이 연구에서 최소
은 저수로와 홍수터에서 모두 약 30이었다.
Tominaga and Nezu (1991)의 실험에서는 몇 가지 특징적인 분포가 나타난다. 홍수터의 전단응력 분포는 접합점 부근에서 높게 나타나며 이는 우안 측벽에 접근하면서 감소하게 된다. 이와 같은 감소는 h/H가 감소하면 보다 급하게 감소하는 경향을 나타낸다. Rajarantnam and Ahmadi (1981)도 동일한 현상을 지적하였으며 홍수터의 전단응력은 주수로로부터 이송되는 횡방향 운동량을 나타낸다고 주장하였다.
주수로의 전단응력 분포에서도 특징적인 분포가 나타나는데 주수로 좌안부의 전단응력분포는 좌안측벽에서 일정하다가 변곡점이 나타나고 다시 중앙부를 지나 우안까지 증가하는 양상을 나타내고 있다. 이와 같은 변곡점은 주수로 우안부에서는 나타나지 않는다. 최대 전단응력은 주수로 중앙부에서 나타나지 않고 우안측벽 쪽으로 치우쳐서 나타나며 이 현상은 수심비가 증가하면 다소 심화되는 경향이 있다.
본 연구의 실험결과를 Tominaga and Nezu (1991)의 실험과 비교한 결과는 Figs. 13 - 15와 같다. 비교는 유사한 수심비에 대해서 도시한 것이며 실험 조건은 수로 규모와 레이놀즈수에서 차이가 난다. Tominaga and Nezu (1991)의 실험은 총하폭 0.4 m, 주수로 폭 0.2 m, 홍수터 폭 0.2 m였으며 주수로의 수심은 0.08 m로 고정하였으며 홍수터의 수심은 0.02 - 0.06 m였다. 이 실험의 레이놀즈수는 45,600 - 67,200이었다. 본 연구의 실험조건은 Table 1에 제시된 것과 같은데 Tominaga and Nezu (1991)에 비해 폭이 2배이며 레이놀즈수도 95,417 - 185,538로 큰 조건이다.
유사한 수심비에 대해서 전체적으로 Tominaga and Nezu (1991)의 실험결과와 유사한 경향을 나타내나 세부적으로는 다소 차이를 나타낸다. 수심비 0.25의 경우에는 본 연구의 최대 전단응력 발생 지점이 다소 우측에 치우쳐져 있으며 홍수터의 전단응력 변화 양상은 대체로 기존 실험과 일치한다. 본 실험에서는 주수로 좌안부에서는 나타나는 전단응력분포의 변곡점은 나타나지 않으면 주수로의 전단응력 분포가 큰 변동성을 나타낸다. 본 실험결과는 주수로와 홍수터 접합부의 전단응력 차이가 잘 나타나고 있으나 기존 실험에서는 측정 방법상의 한계로 명확하게 구분되지 않는다. 기존 실험과의 차이는 규모, 레이놀즈수의 차이와 함께 수심비가 차이가 나는 것에서 기인한 것으로 판단된다. 그러나 수심비의 차이에 비해서 두 실험 결과의 차이는 크지 않다.
수심비 0.5의 경우에는 주로수의 전단응력 분포는 대체로 일치하고 있으나 홍수터에서 다소 차이를 나타낸다. 주수로의 최대전단응력은 수심증가와 함께 다소 우안으로 친우친 경향을 잘 나타내고 있으며 주수로의 최대전단응력이 홍수터 접합부 부근에서 나타나 우안을 따라 감소하는 경향도 잘 나타내고 있다. 주수로 좌안부에서 나타나는 변곡점은 유사하게 나타나나 기존 실험과는 다르게 우안 측벽 부근에서 전단응력이 감소하는 부분이 나타난다. 홍수터의 접합부 부근의 최대전단응력도 기존 실험결과와는 다르게 다소 크게 나타나며 국부적인 변동도 다소 크게 나타난다.
수심비 0.75의 경우에는 기존 실험결과와 다소 다른 양상을 나타내고 있다. 주수로의 최대전단응력 발생지점은 유사하나 좌안부의 변곡점이 나타나지 않으면 우안부의 전단응력이 다소 크게 나타난다. 홍수터 접합부의 전단응력은 기존 실험에 비해서 작은 값을 나타내며 전체적으로 주수로와 홍수터의 값이 유사하며 국부적인 변동도 크게 나타난다. 이는 본 실험의 레이놀수즈가 높아서 나타나는 현상으로 판단되는데 특히 홍수터 접합점 부근의 차이는 추가적인 분석이 필요할 것으로 판단된다.
전체적으로 본 실험은 측벽의 영향이 감소되고 레이놀즈수 증가에 따른 난류 강도의 강화로 주수로와 홍수터의 전단응력 변동성이 증가하여 기존 실험과 차이가 나타나는 것으로 판단된다. 본 실험의 전단응력 분포로 판단하면 본 실험은 높은 레이놀즈수로 인하여 이차류 셀이 보다 복잡한 양상을 나타내고 있을 것으로 추정된다.
5. 요약 및 결론
본 연구에서는 복단면 하도의 하상전단응력 분포 특성을 실험을 통해서 분석하였다. 하상전단응력 측정을 위해서 프레스톤튜브를 제작하여 검정실험을 수행하였으며 이를 5 가지 수심비 조건에 적용하여 측정하여 수심비에 따른 전단응력분포를 제시하였다. 실험결과는 Tominaga and Nezu (1991)의 실험결과와 비교하여 규모와 레이놀즈수의 차이에서 발생하는 복단면 하도의 전단응력분포 특성을 고찰하였다.
수심비에 따른 전단응력분포는 기존 실험연구와 대체로 일치하였으나 수로 규모와 레이놀즈수의 차이에서 발생하는 몇 가지 차이점을 나타내었다. 주수로의 최대전단응력이 주수로 중앙이 아닌 홍수터쪽으로 나타나는 현상과 수심비 증가에 따라 치우침이 심화되는 양상은 기존 실험연구와 일치하였다. 홍수터 접합부 부근의 전단응력분포도 기존 실험연구와 대체로 일치하였다. 그러나 주수로 전단응력분포에서 나타나는 변곡점이 명확하게 나타나지 않으며 수심비가 높은 경우 주수로와 홍수터의 분포가 유사하게 나타나는 것은 기존 실험과의 차이점이다. 또한 전단응력분포의 변동성도 기존 실험연구에 비해서 다소 크게 나타나고 있다.
본 연구의 실험은 기존 실험에 비해서 폭과 수심이 큰 상태에서 수행하여 레이놀즈수가 높은데 이로 인하여 전단응력분포의 변동성이 큰 것으로 판단된다. 하상전단응력의 국부적인 변화가 이차류 방향과 연관되어 있음을 고려하며 높은 레이놀즈수의 복단면 흐름에서는 보다 복잡한 이차류 구조가 존재할 것으로 추정할 수 있으며 이는 추가적인 연구가 필요하다. 주수로분포에서 변곡점은 주수로 측벽의 영향을 나타나는데 본 실험에서는 변곡점이 명확하게 나타나지 않는 것은 하폭이 크고 레이놀즈수가 높아 측벽의 영향이 제한적으로 나타난 결과로 추정된다. 수심비가 높은 경우에 기존 실험연구와는 다르게 주수로와 홍수터의 분포가 균일해지는 경향을 나타내는데 이는 수심비 증가에 따라 홍수터 높이가 전체 흐름에 주는 영향이 감소되는 결과로 판단된다.
본 연구를 통해 프레스톤튜브를 이용한 하상전단응력측정 적용성을 확인하였으며 수로 규모, 레이놀즈수, 수심비에 따른 복단면 하도의 전단응력분포 특성을 분석하였다.



















